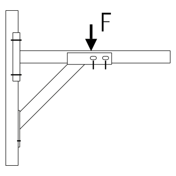
MPC Schoorsteun

RVS 3.04 MPC-Schoorsteun voor profiel 38/40-40/120, lengte 440 mm

art.nr.: 129788
Verp.eenheid: 1 stuk
Gewicht/Eenh.: 1,600 kg
stuk

Toepassing

  • Schoorsteun voor het ondersteunen van railconsolen voor railmontage en railconsolen met grondplaat voor directe wandmontage

Uw voordelen

  • Eenvoudige en snelle montage door voorgemonteerde raildubbelmoer
  • Kantoverlapping voor de railconsole
  • Zijdelingse sleufgaten maken de positionering van MPC installatierails 38/40 met de sleuf zijdelings mogelijk
Basisgegevens tekst
RVS 3.04 MPC-Schoorsteun voor profiel 38/40-40/120, lengte 440 mm
Railsystemen
voor MPC profielen
Producttype
Railmontage-elementen
Voor profielen
38/40-40/120
Materiaal
RVS 3.04
Oppervlakte
RVS 3.04
Lengte L [mm]
440
Lengte L1
405 mm
eCl@ss 7.1
23-15-92-90
eCl@ss 11.1
23-36-01-91
Max. toelaatbare belasting wandmontage
2.500 N
Max. toelaatbare belasting montage in railsleuf
2.000 N
Douanetariefnummer
73269060
Meer technische details zijn te vinden in het gegevensblad.