Selecteer een variant voor meer informatie, afbeeldingen en documenten.

Toepassing

  • Ter bevestiging van leidingen in de zware industrie
  • Voor isolatiediktes tot en met 75 mm bij Type TP80-2
  • Voor isolatiediktes tot en met 90 mm bij Type TP100-2

Uw voordelen

  • Op aanvraag ook leverbaar in andere lengtes
  • Op aanvraag ook met polyamide glijplaat leverbaar
  • Op aanvraag ook leverbaar in RVS of in menie
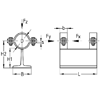
Producttype
Glijslee
eCl@ss 11.1
23-35-01-90
eCl@ss 7.1
23-35-01-90
Meer technische details zijn te vinden in het gegevensblad.